5110
Sök

smt7 piggyback till Audi A4 1.8t

297 Inlägg
10 juni 2008
Trådstartare
#1
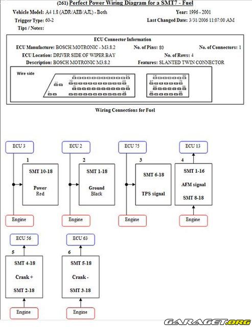
Jag skall instalera ett smt7 "box" i min bil. Men hur gör jag? :p

Jag hittade ett koplingschema på deras sida men förstår inte så mycket utav det.

https://www1.garaget.org/gallery/archive/17973/370808_ue2qa0.jpg

På boxen kan man sätta in 2 st socklar, den ena har redan några kablar i sig.
den andra har en i sig sen finns det ett gäng lösa kablar med kabelskor så man kan sätta dom vart man vill på sockeln. Dom är inte numrerade utan bara olika färger.

Så hur ska jag göra med kablarna? var ska jag koppla in dem? Ska jag kapa dom gamla så att signalerna går igenom boxen eller ska jag pararellkoppla boxen med orginalet?

FWD drar bilen, RWD trycker på och Quattro bara sticker

297 Inlägg
10 juni 2008
Trådstartare
#2
lägger till 2 bilder. ett på smt7an och ett på orginal boxen i bilen

https://www1.garaget.org/gallery/archive/17973/370855_bot0a0.jpg
Orginalboxen i bilen


https://www1.garaget.org/gallery/archive/17973/370856_f8ziou.jpg
smt7

FWD drar bilen, RWD trycker på och Quattro bara sticker

297 Inlägg
15 juni 2008
Trådstartare
#3
Det är väl dom 3 första som skall pararellkopplas och Afm, crank +/- ska seriekopplas. vilka kablar ska dom gå via?

FWD drar bilen, RWD trycker på och Quattro bara sticker


Sök